POMPE A ENGRAIS TRI 900L/MIN
Code 101649
Avantages :
Pompe avec turbine en fonte et clapet à l’aspiration
Idéale pour le transfert de cuve à cuve
POMPE A ENGRAIS TRI 900L/MIN
MOTEUR 230x400V - 3KW
Réf. 101649
Identifiants incorrects
Connectez-vous pour connaître votre prix
Vous n'avez pas de compte ?
Créez un compte distributeur
Tableau technique
Ampérage :
7 A
Puissance :
3 kW
Tension :
380 V
DNA :
3''
DNR :
3''
Modèle :
AA4EL
Documents relatifs au produit
Avantages produits
Avantages :
Pompe avec turbine en fonte et clapet à l’aspiration
Idéale pour le transfert de cuve à cuve
Pour un usage intensif
Description technique
Pompe spécialement conçue pour les liquides clairs ou légèrement chargés, y compris les insecticides, fertilisants et engrais.
Combinaison d'une pompe auto amorçante (avec palier et arbre nu) et d'un moteur électrique, en un seul bloc
Informations techniques :
- Débit max : 900 litres / minute
- Pression max : 1.8 bar
- Alimentation triphasée
Combinaison d'une pompe auto amorçante (avec palier et arbre nu) et d'un moteur électrique, en un seul bloc
Informations techniques :
- Débit max : 900 litres / minute
- Pression max : 1.8 bar
- Alimentation triphasée
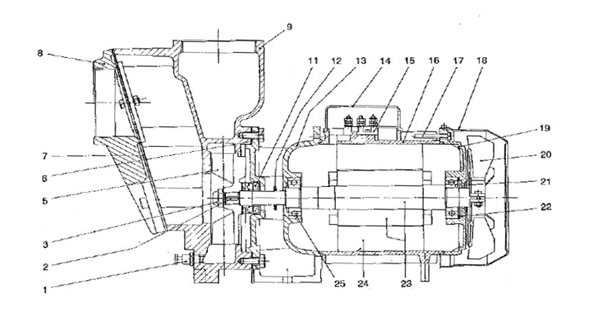
Vues éclatées
Repère
Code
Stock
Libellé
01
Sur commande
VIS PURGE POUR POMPE AA 7 ES DI
02
En stock
CLAVETTE BA 5x5x15MM C45
03
En stock
ÉCROU HFB M12x1,75x12 A2 DIN985 - AUTO-FREINÉ
05
Sur commande
TURBINE DE PPE AA4EL
06
En stock
JOINT DE CORPS PAPIER DE PPE AA2-3-4EL
06
Ce produit n'est plus disponible
JOINT DE CORPS CAOUTCHOU POUR PPE AA 2-3-4EL
07
Sur commande
CLAPET GARNI POUR PPE AA5DI
09
Sur commande
CORPS DE PPE AA5DI REP1
11
Ce produit n'est plus disponible
GARNITURE MECANIQUE AT 19 POUR PPE AA2EL-3EL-4EL
12
Sur commande
BAGUE ETANCHEITE POUR PP 101649
01
Sur commande
104924
VIS PURGE POUR POMPE AA 7 ES DI
02
En stock
382156
CLAVETTE BA 5x5x15MM C45
03
En stock
955306
ÉCROU HFB M12x1,75x12 A2 DIN985 - AUTO-FREINÉ
05
Sur commande
483225
TURBINE DE PPE AA4EL
06
En stock
483182
JOINT DE CORPS PAPIER DE PPE AA2-3-4EL
06
Ce produit n'est plus disponible
367608
JOINT DE CORPS CAOUTCHOU POUR PPE AA 2-3-4EL
07
Sur commande
483242
CLAPET GARNI POUR PPE AA5DI
09
Sur commande
156217
CORPS DE PPE AA5DI REP1
11
Ce produit n'est plus disponible
709019
GARNITURE MECANIQUE AT 19 POUR PPE AA2EL-3EL-4EL
12
Sur commande
320734
BAGUE ETANCHEITE POUR PP 101649