STATION FUEL 12V 60L/MIN
Code 854660
Montage droit
Kit de filtration
Indicateur de colmatage
STATION FUEL 12V 60L/MIN
FILTRE INDICATEUR COLMATAGE
Réf. 854660
Identifiants incorrects
Connectez-vous pour connaître votre prix
Vous n'avez pas de compte ?
Créez un compte distributeur
Accessoires conseillés
Sélectionnez un ou plusieurs accessoires pour les ajouter à votre panier
Tableau technique
Ampérage :
27 A
Débit :
60 L/min
Flexible :
4 m
Tour/min :
4200
Tension :
12 V
DNA :
1'' 1/4
DNR :
1''
Débit Sortie Pistolet :
50 L/min
Indicateur de colmatage :
Oui
Puissance :
0,32 kW
Documents relatifs au produit
Avantages produits
Montage droit
Kit de filtration
Indicateur de colmatage
Pistolet automatique
Pompe 12 V à palettes auto-amorçante
Câble avec pinces batterie
4 m de tuyau de refoulement sertis
Ø25
Compteur mécanique 4 chiffres
Description technique
- Stations adaptées aux installations de stockage fixe
- Fixation facile sur une cuve ou sur un mur
Attention : Le kit d'aspiration n'est pas fourni, pensez à commander séparement
- Fixation facile sur une cuve ou sur un mur
Attention : Le kit d'aspiration n'est pas fourni, pensez à commander séparement
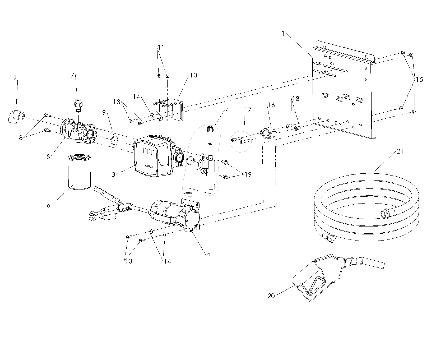
Vues éclatées
Repère
Code
Stock
Libellé
01
En stock
PLAQUE SUPPORT NOIRE POUR STATION FUEL
02
En stock
POMPE FUEL 12V 60L/MIN SUR PATTE
03
En stock
COMPTEUR MECANIQUE 4 CHIFFRES RENSON PACKAGE
04
En stock
BRIDE EQUERRE LONGUE 1''
05
En stock
TETE PETIT FILTRE AV 1 AVEC INDICATEUR
06
En stock
CARTOUCHE DE FILTRATION 45L/M
07
En stock
INDICATEUR DE COLMATAGE POUR TETE DE FILTRE
08
En stock
VIS CHC M8x1,25x20 ZINGUÉ 8.8 DIN912
09
Ce produit n'est plus disponible
JOINT OR 36x3 NBR
10
Ce produit n'est plus disponible
EQUERRE DE FIXATION POUR STATION ET CUVE FUEL
11
En stock
VIS CBHC M5x0,8x10 ZINGUÉ 10.9 ISO7380-2 - À EMBASE PLATE
12
En stock
COUDE LAITON 90° MF 1''
13
En stock
VIS CBHC M6x1x20 ZINGUE 10.9 ISO7380-2 - À EMBASE PLATE
14
En stock
RONDELLE D.6x20x1,25
15
En stock
ECROU M6 ZINC
16
En stock
PORTE PISTOLET 3/4'' NOIR
17
En stock
VIS CHC M8x1,25x40 ZINGUÉ 8.8 DIN912
18
En stock
RIVKLET M8 Ø EXTERIEUR 11MM
19
En stock
VIS H M8x1,25x20 ZINGUÉ 8.8 DIN6921 - À EMBASE CRANTÉE
20
En stock
PISTOLET AUTOMATIQUE 60L/MIN GASOIL AVEC RACCORD TOURNANT
21
En stock
FLEXIBLE REFOULEMENT Ø 20MM 4M MM 1'' FIXE 3/4'' TOURNANT
01
En stock
140507
PLAQUE SUPPORT NOIRE POUR STATION FUEL
02
En stock
854630
POMPE FUEL 12V 60L/MIN SUR PATTE
03
En stock
971850
COMPTEUR MECANIQUE 4 CHIFFRES RENSON PACKAGE
04
En stock
141676
BRIDE EQUERRE LONGUE 1''
05
En stock
141907
TETE PETIT FILTRE AV 1 AVEC INDICATEUR
06
En stock
972600
CARTOUCHE DE FILTRATION 45L/M
07
En stock
141901
INDICATEUR DE COLMATAGE POUR TETE DE FILTRE
08
En stock
140779
VIS CHC M8x1,25x20 ZINGUÉ 8.8 DIN912
09
Ce produit n'est plus disponible
141177
JOINT OR 36x3 NBR
10
Ce produit n'est plus disponible
810756
EQUERRE DE FIXATION POUR STATION ET CUVE FUEL
11
En stock
140788
VIS CBHC M5x0,8x10 ZINGUÉ 10.9 ISO7380-2 - À EMBASE PLATE
12
En stock
110263
COUDE LAITON 90° MF 1''
13
En stock
140789
VIS CBHC M6x1x20 ZINGUE 10.9 ISO7380-2 - À EMBASE PLATE
14
En stock
137121
RONDELLE D.6x20x1,25
15
En stock
137113
ECROU M6 ZINC
16
En stock
141440
PORTE PISTOLET 3/4'' NOIR
17
En stock
140785
VIS CHC M8x1,25x40 ZINGUÉ 8.8 DIN912
18
En stock
137106
RIVKLET M8 Ø EXTERIEUR 11MM
19
En stock
140832
VIS H M8x1,25x20 ZINGUÉ 8.8 DIN6921 - À EMBASE CRANTÉE
20
En stock
700063
PISTOLET AUTOMATIQUE 60L/MIN GASOIL AVEC RACCORD TOURNANT
21
En stock
139789
FLEXIBLE REFOULEMENT Ø 20MM 4M MM 1'' FIXE 3/4'' TOURNANT